你的位置:开云平台皇马赞助商(中国)官方入口 > 新闻动态 > 开云体育占公司总股本为0.0066%-开云平台皇马赞助商(中国)官方入口
开云体育占公司总股本为0.0066%-开云平台皇马赞助商(中国)官方入口
时间:2025-11-18 12:11 点击:140 次
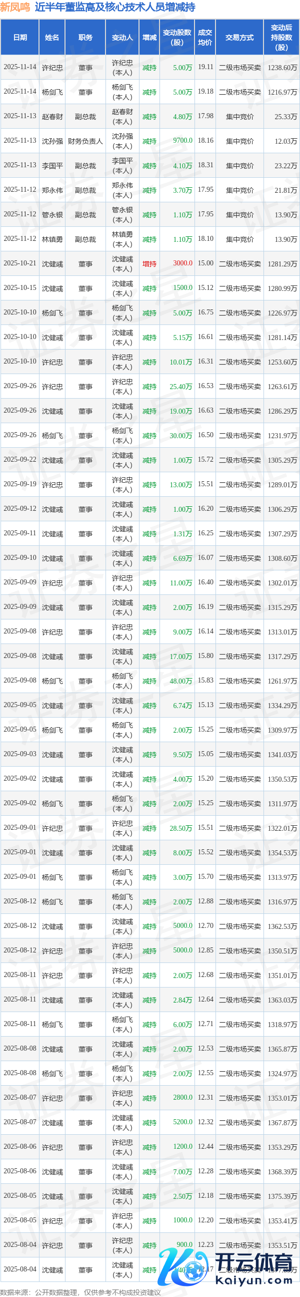
证券之星音书,字据11月17日市集公开信息、上市公司公告及来回所透露数据整理,新凤鸣(603225)最新董监高及关系东说念主员股份变动情况:2025年11月14日公司董事杨剑飞、董事许纪忠共减抓公司股份10.0万股,占公司总股本为0.0066%。变动时候公司股价下落1.32%开云体育,11月14日当日收盘报17.97元。
新凤鸣近半年内的董监高及中枢手艺东说念主员增减抓敬佩如下:

新凤鸣的高管列表及最新抓股情况如下:

融资融券数据泄漏该股近5日融资净流入5290.98万,融资余额加多;融券净流出5.64万,融券余额减少。
该股最近90天内共有21家机构给出评级开云体育,买入评级19家,增抓评级2家;曩昔90天内机构见地均价为19.8。
海量资讯、精确解读,尽在新浪财经APP
